2018年2月机修钳工技师模拟试题及答案卷24
试题展示2018年2月机修钳工技师模拟试题及答案卷24机修钳工职业资格技师最新最全,免费模拟练习
2018年机修钳工模拟试题及答案由云习网提供
职业资格下载地址 免费练习 。
1、(单选题)数控机床改造中不能当驱动部件的有()。
A 步进电动机
B 电液脉冲马达
C 伺服电动机
D 交流电动机
正确答案:D
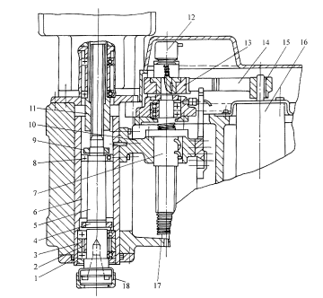
2、(主观题)请写出下图所示数控铣床主轴部件装配调整时的注意事项。l-角接触球轴承 2、3-轴承隔套 4、9-圆螺母 5-主轴 6-主轴套筒 7-丝杠螺母8-深沟球轴承 10-螺母支承 11-花键套 12-脉冲编码器 13、15-同步带轮14-同步带 16-伺服电动机 17-丝杠 18-快换夹头
正确答案:机床主轴部件装配调整时应注意以下几点:|1、为保证主轴工作精度,调整时应注意调整好预紧螺母4的预紧量。|2、前后轴承应保证有足够的润滑油。|3、螺母支承10与主轴套筒的联接螺钉要充分旋紧。|4、为保证脉冲编码器与主轴的同步精度,调整时同步带14应保证合理的张紧量。
3、(判断题)()坐标镗床精度检查项目的顺序并不表示实际测量顺序。
正确答案:正确
4、(多选题)加工螺纹时造成螺距不对的原因主要有()。
A 系统和驱动器参数设置是否正确
B 线路接触良好
C 主轴转速是否合理
D 机械,加工程序是否有问题
E 主轴编码器故障
正确答案:ACDE
5、(单选题)用()方法制成的齿轮较为理想。
A 由厚钢板切出圆饼再加工成齿轮
B 由粗钢棒切下圆饼加工成齿轮
C 由圆棒锻成圆饼再加工成齿轮
D 由铸造制成齿轮毛坯再加工成齿轮
正确答案:C
6、(单选题)继电器是通过()对电路实行控制的。
A 闸刀开关
B 空气开关
C 接触器
D 接触开关
正确答案:C
7、(单选题)()不会引起机床的震动。
A 主轴组件的刚性不足
B 主轴上零件不平衡
C 安装水平有误差
D 安装的基础不好
正确答案:C
8、(单选题)钨钴类硬质合金中,含TiC越多,Co越少,则合金的(),而抗弯强度及韧性就越差。
A 硬度、耐磨性及耐热性越差
B 硬度、耐磨性越差,耐热性变好
C 硬度、耐磨性越好,耐热性变差
D 硬度、耐磨性及耐热性越好
正确答案:D
9、(主观题)某旋转件的质量m=10kg,工作转速n=3000r/min,平衡精度等级为G2.5。试求平衡后允许的偏心距e和剩余不平衡力矩M(取重力加速度g≈10m/s2)。
正确答案:旋转件的角速度 ω=2πn/60=2π×3000/60=314.16rad/s,由于平衡精度等级为G2.5,所以旋转件的偏心速度 ve=2.5 mm /s,允许的偏心距 e=1000 ve/ω=1000×2.5/314.16=7.96μm剩余不平衡力矩 M=We=mge=10×10×7.96=796N·μm =0.80 N·mm。平衡后允许的偏心距e为7.96μm,剩余不平衡力矩M为0.80 N·mm。
10、(单选题)修复滑动轴承,主要是对圆孔形轴瓦进行刮研。上轴瓦可留()mm间隙,并使两半轴瓦中心线对中。
A 0.1
B 0.05
C 0.03
D 0.01
正确答案:C
11、(单选题)利用滚杠在斜坡上移动木箱,其坡度一般不能大于()。
A 5°
B 10°
C 15°
D 20°
正确答案:C
12、(多选题)滚珠丝杆螺母传动有如下特点:()。
A 摩擦小,效率高
B 灵敏度高,传动平稳
C 摩擦大,效率低
D 可通过预紧,消除轴向间隙提高轴向刚度
E 磨损小,寿命长
正确答案:ABDE
13、(主观题)某旋转件的质量m=20kg,工作转速n=2900r/min,平衡精度等级为G6.3。试求平衡后允许的偏心距e和剩余不平衡力矩M(取重力加速度g≈10m/s2)。
正确答案:旋转件的角速度 ω=2πn/60=2π×2900/60=303.67 rad/s,由于平衡精度等级为G6.3,所以旋转件的偏心速度 ve=6.3 mm /s允许的偏心距 e=1000 ve/ω=1000×6.3/303.67=20.75μm剩余不平衡力矩 M=We=mge=20×10×20.75=4150 N·μm =4.15 N·mm。平衡后允许的偏心距e为20.75μm,剩余不平衡力矩M为4.15 N·mm。
14、(主观题)下图所示滚珠丝杠,请编写调整其预紧力的方案。
滚珠丝杠螺母副 1-弯管(回珠管)2-压板 3-丝杠 4-滚珠 5-滚道
正确答案:略
15、(判断题)()Y7520W型螺纹磨床修理、安装后,应准备三种试切件来进行工作精度检验。
正确答案:错误
16、(判断题)()对滚珠丝杠的预拉伸,是用以补偿因滚珠丝杠在高速回转时的摩擦、温升引起的变形。
正确答案:正确
17、(判断题)()切削加工中,由于传给刀具的热量比例很小,所以刀具的热变形可以忽略不计。
正确答案:错误
18、(多选题)下面关于用户宏程序的说法,正确的是()。
A 用变量可以置换地址后的数值,如F#103…,当#103=15时,与指令F15是同样的
B 宏变量可分为公用变量和系统变量
C 宏程序中系统变量的用途在数控系统中是固定的
D 地址O和N可以引用变量,比如可以用O#100,N#120编程
E 在主程序中用M18调用宏程序
正确答案:ABC
19、(单选题)调度员的分工方式以()种为较好。
A 按时间分工
B 按条分工
C 条块结合分工
D 按块分工
正确答案:C
20、(单选题)使用光电盘测量角度时,为了判别旋转方向,在码盘两侧至少装()套光电转换装置。
A 1
B 2
C 3
D 4
正确答案:A
21、(判断题)精密机床传动齿轮的负荷越大、速度越快、工作温度越高,则选用润滑油的黏度就越大。
正确答案:错误
22、(多选题)在实际加工工件时,实际加工尺寸与希望加工尺寸(或编程尺寸)总存在一定误差,这种误差可通过刀具补偿来减小,甚至消除。引起这种误差的原因往往是()。
A 程序编写错误
B 刀尖磨损
C 更换刀片后,刀尖位置与原位置偏差
D 切削条件变化而引起的尺寸偏差
E 刀尖安装位置与基准位置有偏差
正确答案:BCDE
23、(单选题)影响刀具寿命的因素有()。
A 工件材料、刀具材料、刀具几何参数、切削用量
B 工件材料、刀具材料、刀具几何参数
C 工件材料、刀具材料、切削速度
D 工件材料、刀具材料、切削用量
正确答案:A
24、(单选题)当PLC上出现“BATT.V”显示时,说明()。
A PLC程序出错
B PLC锂电池电压过高
C PLC锂电池电压不足
D PLC有干扰信号
正确答案:C
25、(主观题)数控机床出现了加工工件表面粗糙度值大的现象,从滚珠丝杠的方面分析原因并提出处理办法。
正确答案:(1)导轨的润滑油供油不足,使移动部件爬行,应加润滑油,排除润滑故障。|(2)滚珠丝杠有局部拉毛或破损,应更换或修理丝杠。|(3)丝杠轴承损坏,运动不平稳,应更换损坏的轴承。|(4)伺服电动机未调整好,增益过大,应调整伺服电动机的控制系统。
26、(多选题)在诊断设备故障时应掌握()原则。
A 先内部后外部
B 先机械后电气
C 先静态后动态
D 先外部后内部
E 先电气后机械
正确答案:BCD
27、(多选题)检验桥板是用于测量机床两导轨平面的平行度的主要工具,按照不同的导轨形式,可以做成不同形式的检验桥板。确定测量坐标镗床托板下导轨的检验桥板的结构时,主要需考虑()方面。
A 体积
B 刚度
C 自重
D 圆锥锥度
E 成产成本
正确答案:BC
28、(主观题)看下图回答问题:|1.此件长、宽、高的最大尺寸是多少?|2.此图尺寸是公制还是英制?|3.哪一个尺寸要求最精确?|4.哪一部分有位置公差要求?|5.此图属第几角投影?
正确答案:
29、(单选题)机床底座接缝处的两侧,应各垫()垫铁。
A 四组
B 三组
C 二组
D 一组
正确答案:D
30、(主观题)三坐标测量机主要进行哪些方面的测量?
正确答案:由于三座标测量机的原理是点位或连续测量法,因此它可进行各种几何位置和各种形位误差的测量,例如箱体、曲面、叶片、齿轮等复杂的几何参数,并可对圆度、平面度、直线度、垂直度等几何形状误差进行测量。