2018年3月机修钳工技师模拟试题及答案卷19
试题展示2018年3月机修钳工技师模拟试题及答案卷19机修钳工职业资格技师最新最全,免费模拟练习
2018年机修钳工模拟试题及答案由云习网提供
职业资格下载地址 免费练习 。
1、(单选题)通过操作训练,可以使所学的知识加深和巩固,锻炼他们的()。
A 独立操作能力
B 基本操作能力
C 实际操作能力
D 正常操作能力
正确答案:C
2、(主观题)某旋转件的质量m=20kg,工作转速n=2900r/min,平衡精度等级为G6.3。试求平衡后允许的偏心距e和剩余不平衡力矩M(取重力加速度g≈10m/s2)。
正确答案:旋转件的角速度ω=2πn/60=2π×2900/60=303.67rad/s|由于平衡精度等级为G6.3,所以旋转件的偏心速度ve=6.3mm/s|允许的偏心距e=1000ve/ω=1000×6.3/303.67=20.75μm|剩余不平衡力矩M=We=mge=20×10×20.75=4150N·μm=4.15N·mm|答:平衡后允许的偏心距e为20.75μm,剩余不平衡力矩M为4.15N·mm。
3、(单选题)电子水平仪是一种()的高精度水平仪。
A 没有水准泡
B 水准管内装有乙醚
C 水准管内装有导电溶液
D 电子测量
正确答案:C
4、(单选题)因为(),使万能磨床工作台换向时发生冲击。
A 系统中有空气
B 工作压力过高
C 油缸密封过紧
D 工作流量过大
正确答案:B
5、(判断题)硬质合金是一种耐磨性好、耐热性高、抗弯强度和冲击韧性都较高的一种刀具材料。
正确答案:错误
6、(判断题)()PLC是现代能替代传统的J-C控制的最佳工业控制器。
正确答案:正确
7、(判断题)用压力机安装轴上轴承,不能在压力机和内环间用安装顶模
正确答案:错误
8、(判断题)主轴定向准停的控制,当采用位置编码器作为位置检测器件时,为了控制主轴位置,主轴与编码器之间必须是1∶1传动或将编码器直接安装在主轴轴端。当采用磁性传感器作为位置检测器件时,磁性器件应直接安装在主轴上,而磁性传感头则应固定在主轴箱体上。
正确答案:正确
9、(多选题)滚珠丝杆螺母传动有如下特点:()。
A 摩擦小,效率高
B 灵敏度高,传动平稳
C 摩擦大,效率低
D 可通过预紧,消除轴向间隙提高轴向刚度
E 磨损小,寿命长
正确答案:ABDE
10、(多选题)主轴上采用空气隔离气密封时的几点要求有()。
A 主轴前端,后端密封结构要类似
B 主轴上向内气环上的气阻应大于向外气环上的气阻
C 作用于气体隔离环上的气体压力为0.2~0.4MPa
D 箱体内气压的建立与主轴旋转启动应同步联锁
E 箱体内气压的建立与主轴旋转启动应异步联锁
正确答案:ABCD
11、(主观题)写出设备修理质量管理的工作内容。
正确答案:设备修理质量管理的工作内容有:|1、制定设备修理的质量标准。|2、编制设备修理的工艺。|3、设备修理质量的检验和评定工作。|4、加强修理过程中的质量管理。|5、开展修后用户服务和质量信息反馈工作。|6、加强技术、业务培训工作。
12、(多选题)检验桥板是用于测量机床两导轨平面的平行度的主要工具,按照不同的导轨形式,可以做成不同形式的检验桥板。确定测量坐标镗床托板下导轨的检验桥板的结构时,主要需考虑()方面。
A 体积
B 刚度
C 自重
D 圆锥锥度
E 成产成本
正确答案:BC
13、(单选题)数控车床主轴间隙的一般调整顺序是()。
A 先调纵向,再调横向
B 先调横向,再调纵向
C 先调径向跳动,再调轴向窜动
D 先调轴向窜动,再调径向跳动
正确答案:D
14、(单选题)调度员的分工方式以()种为较好。
A 按时间分工
B 按条分工
C 条块结合分工
D 按块分工
正确答案:C
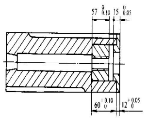
15、(主观题)阅读下图,回答下列问题:|(1)此件长、宽、高的最大尺寸是多少?|(2)此图尺寸是公制还是英制?根据何在?|(3)哪一个尺寸要求最精确?|(4)哪一部分有位置公差要求?|(5)此图属第几角投影?根据何在?
正确答案:
16、(主观题)简述数控机床的对刀工作过程。
正确答案:1、进入手动方式安装可以用于切对刀的工件。|2、选择一个位置作为Z方向基准点必要时用命令2设置好机械坐标。|3、手动移动刀架到可以换刀的位置,并换刀到需对刀的刀具号上。|4、手动将刀尖靠近工件进行试切,用命令3确认试切位置。|5、将刀尖移动离开工件,停主轴用卡尺量出试切点的直径的Z方向位置。|6、分别用命令6输入X/的Z方向尺寸输入刀编号。|7、重复3-6对号余下的刀具
17、(主观题)在CA6140车床尾座修理装配中,各组成零件的有关尺寸如图所示,试计算修理装配后螺母在顶尖套筒内的轴向窜动量,并画出尺寸链图。
正确答案:
18、(单选题)为检验螺纹磨床外螺纹砂轮修整器的稳定性,应试磨()试切件。
A 环形槽
B 钢片槽
C 长丝杠
D 内螺纹
正确答案:A
19、(主观题)合金调质钢的性能特点与用途有哪些?
正确答案:具有高强度、高韧性的良好的综合力学性能。主要用于制造在重载荷下同时又受冲击载荷作用的一些重要零件,如汽车、拖拉机、机床等上的齿轮、主轴、连杆、高强度螺栓等。
20、(判断题)()滚珠丝杠副可以将旋转运动转换成直线运动,但不可以从直线运动转换成旋转运动。
正确答案:错误
21、(主观题)试论述安装蜗杆传动机构时应注意哪些要求?
正确答案:装配要求为:|1、蜗杆轴心线与蜗杆轴心线必须互相垂直,蜗杆轴心线应在蜗轮轮齿的对称平面内。|2、蜗轮与蜗杆间的中心距要正确,以保证有适当的啮合侧隙和正确的接触斑点。|3、转动灵活,蜗轮在任意位置旋转蜗杆手感相同,无卡住现象。
22、(单选题)研磨棒一般均采用材质均匀,无砂眼、气孔的()做成。
A 铸铁
B 铸造青铜
C 铸铝
D 轴承合金
正确答案:A
23、(判断题)精密测量的条件主要指测量环境的温度、湿度、灰尘和振动。
正确答案:正确
24、(判断题)调高液压油压力增加不了液压卡盘夹紧力。
正确答案:错误
25、(主观题)试述下图所示数控机床主轴部件的常见故障及排除方法。型数控铣床主轴部件结构图 l―接触球轴承 2、3―轴承隔套 4、9―圆螺母 5―主轴 6―主轴套筒 7―丝杠螺母 8―深沟球轴承10―螺母支承 11―花键套 12―脉冲编码器 13、15―同步带轮 14―同步带 16―伺服电动机 17―丝杠 l8―快换夹头
正确答案:1、主轴运转发生异常的声音,且声音越来越大造成机床运转停止。其原因是主轴轴承破损,应更换主轴轴承。|2、主轴箱不能够移动|(1)联轴器松动,拧紧联轴器上的螺钉。|(2)压板间隙小或研伤,修复压板,调整压板与导轨间隙,保证间隙为0.02~0.03 mm。|(3)镶条间隙不当,松开镶条止退螺钉,用螺钉旋具顺时针旋转镶条螺栓,使坐标轴能灵活移动,塞尺不能塞入后,锁紧止退螺钉。|(4)主轴箱导轨面研伤,修磨导轨面。|3、主轴箱运转过程有噪声|(1)润滑油量不足,改善润滑条件,使其润滑油量充足。|(2)轴承间隙过大,调整轴承后盖,使其压紧轴承端面,拧紧锁紧螺母。|(3)主轴与电动机连接传动带过紧,移动电动机座使传动带松紧度合适。|(4)小带轮、大传动带平衡不好,重新做动平衡。
26、(单选题)车削公制螺纹时,螺距P=2.5,转速180转/分,则进给速度为()mm/min。
A 450
B 250
C 180
D 225
正确答案:A
27、(多选题)在故障诊断时应掌握的原则是()。
A 先内部后外部
B 先机械后电气
C 先静态后动态
D 先简单后复杂
E 先外部后内部
正确答案:BCDE
28、(主观题)设备改造的原因有哪些?
正确答案:1)工件结构特点的需要。如工件刚性差、易变形或形状独特等。|2)工件技术要求的需要。如有些工件在应用的设备上加工达不到工件的技术要求、尺寸精度、表面粗糙度、位置精度等。|3)工件加工批量的需要。改进设备的工序能力可以提高工件加工的生产率。
29、(多选题)下面关于用户宏程序的说法,正确的是()。
A 用变量可以置换地址后的数值,如F#103…,当#103=15时,与指令F15是同样的
B 宏变量可分为公用变量和系统变量
C 宏程序中系统变量的用途在数控系统中是固定的
D 地址O和N可以引用变量,比如可以用O#100,N#120编程
E 在主程序中用M18调用宏程序
正确答案:ABC
30、(单选题)购置设备时主要向制造厂家提出的具体要求包括工作流程、()、技术分析报告。
A 确定加工零件
B 确定加工人数
C 确定完工天数
D 确定完工工时
正确答案:A